スマートクレセントをペアリングする <動画あり>

手順動画はこちら(取り付け方法)
手順動画はこちら(接続・ペアリング方法)

梱包内容確認

mceclip0.png

 

ご使用開始の前に必ず「安全にお使いいただくために」をお読みください。

 

取付上のお願い

※スマートクレセントを取り付ける前に、枠の水平・垂直および、障子の開閉・既設のクレセントの施解錠に異常がないことを確認してください。
※必ず指定のねじを指定の本数使用し、固定してください。
※取付け時は手袋をしてください。素手で行うとケガをするおそれがあります。

詳しくは取付け説明書をご確認ください。

下記内容は重要事項ですので必ず点検してください。
mceclip0.png

 

取付順序

1)クレセントの取外し
①すでに取付いているクレセントの上下のキャップを開けます。
※ハンドルは中間位置にしてください。
mceclip1.png

②プラスドライバーでクレセントを固定しているねじを取外します。
mceclip2.png

2)スマートクレセントの取付け
①㋑スマートクレセントの上下のキャップを開けます。
※ハンドルは中間位置にしてください。
mceclip3.png

②プラスドライバーで付属の㋺クレセント取付けねじを固定します。
※ねじを固定した後、キャップを閉めてください。
mceclip4.png

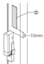
③お願いラベルの張付け
お願いラベルを召内框に張付けてください。
※お願いラベルはシワや気泡が入らないように張付けてください。
※お願いラベルは再張付けできません。
mceclip5.png

 

調整

【上下方向の調整】
(クレセント本体)
①上下のキャップを開けます。
②プラスドライバーでねじをゆるめてクレセント本体を上下に動かします。
※調整後はしっかりねじを締めて、キャップをしてください。
mceclip6.png

【左右方向の調整】
(クレセント受け)
プラスドライバーでねじをゆるめてクレセント受けを左右に動かします。
※調整後はしっかりねじを締めてください。
mceclip7.png

 

スマートクレセントを動作させるためには、ペアリング及び施錠位置の調整が必要になります。
※㋩電池はペアリングを行うまで大切に保管してください。

 

取替可能商品

既に取り付いているクレセントと取り換えをしていただくことでご利用できます。

LIXIL品種 取付
TW
TW防火戸
TWコーディネート
サーモスX
防火戸サーモスX ※1
サーモスⅡ-H/L
防火戸FG-H/L ※1
サーモスA
防火戸FG-A ※1
サーモスコーディネート
EW,EW for design
エルスターX/S
サーモスS
シンフォニー
防火戸FG-C ※1
アトモスⅡ
デュオ
NCVオペラ
マイスター
レガリス

※インプラス等の内窓、和障子が設定されている場合は、取付ができません。
※1 シャッター付引違い窓のみ使用できます

 

ペアリング

1)左上のメニューアイコンをタップしてください。
mceclip0.png

2)「機器」の「+」ボタンをタップしてください。
mceclip1.png

3)「施解錠センサ」をタップしてください。
mceclip0.png

4)「スマートクレセント」をタップしてください。
mceclip1.png

5)スマートクレセントを追加するホームデバイスにチェックが入っていることを確認し、「次へ」をタップしてください。
mceclip2.png

6)スマートクレセントの電池カバーを押し込みながらスライドして外してください。
mceclip0.png

7)アルカリ単5形乾電池を入れてください。
LEDランプが1秒間隔で赤く点滅します。
LEDランプの点滅を5秒以上確認後、右上の「次へ」をタップしてください。
mceclip1.png

8)LEDランプが赤く点滅している間に「ペアリング開始」をタップしてください。
mceclip5.png

 

9)ペアリングが完了するまでしばらくお待ちください。ペアリングが完了すると、LEDランプが0.1秒間隔で4秒間赤く早点滅します。
※LEDランプの点滅中に「電池カバーの取り付け」画面にならない場合はペアリング失敗です。電池を抜き差しし、LEDランプが点滅している間に再度ペアリングを実行してください。
mceclip6.png

ペアリングが完了しましたらこちらの画面になります。「OK」をタップしてください。
mceclip2.png

※「ペアリングに失敗しました」とメッセージが表示された場合
ホームデバイスの近くで再度ペアリングを開始してください。
また、電池を入れた直後のLEDの点滅が5秒以内だった場合、センサの初期化をする必要があります。
センサの初期化は、電池を3回連続で抜き差ししてください。(1回につき10秒以内で行う必要があります)
「OK」をタップして、ホームデバイスの近くで再度ペアリングを開始してください。
mceclip3.png

10)6)【電池カバーの外し方】とは逆の手順で、電池カバーを取り付けてください。
右上の「次へ」をタップしてください。
mceclip4.png

11)正常にペアリングが終了すると、機器名に「スマートクレセント(L)」または「スマートクレセント(R)」という名称が表示されます。
設置スペースの「>」をタップしてください。
※すでに設置スペースを作成されている場合は 14)にお進みください。

mceclip5.png

※複数台ペアリングした場合、機器名に「Unknow」と表示されることがあります。
(ホームデバイス1台当たりの接続可能機器数は、スマートサムターン、スマートクレセント、ドア窓センサ及び広域人感センサを合わせて20台までとなっております)
mceclip6.png

もし、「Unknow」と表示された場合は、ペアリング後に削除してください。
(トップ画面の「メニューアイコン」→機器の「その他」の中に入っていますので、ご確認ください)
mceclip7.png

12)スペースの種類を選択してください。ここではリビングを選択しています。
「リビング」をタップしたあと、「次へ」をタップしてください。
mceclip8.png

13)リビングが表示されていることを確認し、「次へ」をタップしてください。
mceclip9.png

14)設置スペースの「>」をタップしてください。
mceclip10.png

15)設定したい設置スペースを選択してください。
mceclip9.png

16)選択した設置スペース名が表示されていることを確認後、「完了」をタップしてください。
mceclip3.png

17)以上で、ペアリングは完了です。引き続き施錠位置の初期設定を行ってください。
スマートクレセントの施錠位置を調整する

18)施錠位置の初期設定後に引き続きアップデートを行ってください。
スマートクレセント・スマートサムターンのアップデート方法(ファームウェアについて)

この記事は役に立ちましたか?
フィードバックのご協力をお願いいたします。
個人情報の記入はご遠慮ください。質問や要望への返答をご希望の場合は、お問い合わせフォームをご利用ください。
フィードバックを送信
フィードバックありがとうございます。